Appleの特許をまとめているPatently AppleがMac Pro Late 2013の為に出願した7つの特許を見つけたそうです。詳細は以下から。
![]()
Patently Appleの記事”Apple’s Mac Pro Detailed in Six In-Depth Patents“(アップデートして7つ目の特許が追加されています)によると、米特許商標庁はAppleがMac Pro Late 2013の為に提出した7つの特許を公開し、まとめています。
Apple’s Mac Pro Detailed in Six In-Depth Patents http://t.co/5iVq9uJVqQ http://t.co/arlsiHgHIL
The U.S. Patent and Trademark Office published a series of six patent applications that reveal various aspects of Apple’s new Mac Pro computer design. There are hundreds of images that you could review and details galore in the following patent applications:
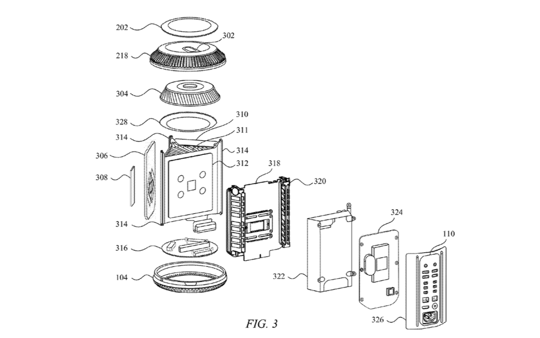
内部アーキテクチャ
20140361671と20140362576にはMac Pro Late 2013の円柱状の筐体内部に三角形のヒートシンクが置かれ、その周りにCPUボード、GPUボード、I/Oインターフェイスボード、そして電源ユニットが配置される内部アーキテクチャの特許が記載されいます。
An internal component and external interface arrangement for a cylindrical compact computing system is described that includes at least a structural heat sink having triangular shape disposed within a cylindrical volume defined by a cylindrical housing.
A computing engine having a generally triangular shape is described having internal components that include a graphics processing unit (GPU) board, a central processing unit (CPU) board, an input/output (I/O) interface board, an interconnect board, and a power supply unit (PSU).
筐体
Mac Pro Late 2013の筐体は円柱状で、第1(124)、第2(114)口が開いており、第1口のサイズと形は伝熱媒体を冷却するために十分なエアフローを送れ、第2口は内部コンポーネントから渡された熱を排出する。(20140361672と20140362519)
The housing includes a first opening and a second opening axially displaced from the first opening.
The first opening having a size and shape in accordance with an amount of airflow used as a heat transfer medium for cooling internal components,
the second opening defined by a lip that engages a portion of the airflow in such a way that at least some of the heat transferred to the air flow from the internal components is passed to the housing.
サーマルシステム
筐体をサーマルシステムの面で見ていくと、Mac Pro Late 2013はコンパクトかつ軽量な筐体でどのように効率よく熱除去を行うかが特許(20140362522 と 20140362523)に記載されており、CPU, GPUボードメモリなどは全て筐体と平行に配置されエアフローを妨げず、
The present application describes various embodiments regarding systems and methods for providing efficient heat rejection for a lightweight and durable compact computing system having a small form factor. The compact computing system can take the form of a desktop computer.
ボトムケースにある吸気口には空気をMacPro Late 2013のシステム全体(内部)へと導くため、リブ”rib”(502)が配置されている。
As depicted, intake airflow 124 can be drawn into compact computing system 100 through vents 122. As intake airflow 124 passes through base unit 116, ribs 502 help to direct airflow entering compact computing system 100.
[United States Patent Application: 0140362522]
さらに、このリブによって吸気口(124)から内部へと送られた空気は、CPU, GPUボードとメイン ロジックボード(Main Logic Board :MLB (422))をつないでいる3つのフレックスケーブル(504)をスプリッターとして使用し分割され効率よくCPU, GPUボードを冷やすために使用されているそうです。
In one embodiment, a baffle arrangement 504, also referred to as an airflow splitter, can be used to split intake airflow 124 into the central airflow 314 as described above and a second portion into the peripheral airflow 312.
[United States Patent Application: 0140362522]
また、MacPro Late 2013にはファンが1つしか搭載されていませんが、そのファンの騒音を抑える特許も掲載されているので流体などに興味がある方はどうぞ。
関連リンク:
- Apple’s Mac Pro Detailed in Six In-Depth Patents – Patently Apple








コメント
やっぱ技術と発想力がすげーわアップル
MacProのケース外すと男心擽るデザインなんだよな
赤い矢印がスプリッターの504か
ケーブルというよりほんと風の流れを変える曲がった板にみえる。これが周辺三カ所にあるのかな
これだけ工夫してるなら特許として認められるのも納得
iMacのメンテナンス性皆無な構造もなんとかしてくれよ
miniは4コア無くなっちまったしもうコンシューマーモデルはコストケチる事しか考えてねーな
徹底的なコスト削減とメンテンナンスフリー
イコール
コーンシューマーモデル
イコール
iMac
もはや真の据え置きmacはこれのみ状態
macbook proもどうにかしてくれ
airの方がmacらしさがあるってどうゆうことだ